La notion d'intensité
La mesure de la tension ne permet pas de déterminer la lampe qui brille le plus fort. C’est la mesure de l’intensité du courant qui traverse chaque lampe qui le permet. Les indication constructeur porter sur le culot de la lampe sont : L 1 = (6 V ; 0,1 A ou 100 mA) ; L2 = (6 V ; 0,3 A) ; L3 = (6 V ; 1 A). 6 V : c’est la tension nominale de chaque lampe. Les valeurs en A (ou mA) représente l’intensité nominale de chaque lampes. A = ampère. C’est l’unité de l’intensité du courant. Conclusion : L’intensité du courant est notée I. Son unité de mesure est l’ampère, symbole A. On utilise souvent le multimètre (mA). 1 A = 1000 mA ; 1 mA = 0,001 A.

Définition : Un courant électrique est dû par un déplacement de porteurs de charge : Les électrons e- dans les métaux. Qe= - 1,6 10-19 C = -e (avec e charge élémentaire) Les ions dans les solutions charges ηe L'intensité du courant continu dans un conducteur est le débit de porteurs de charges traversant une section du conducteur par unité de temps. C'est donc un nombre de Coulombs par m² et par seconde. L'intensité d'un courant électrique correspond à une des nombreuses grandeurs mesurables au sein des circuits électriques. Cette mesure permet alors de connaître le débit des charges électriques à travers une section du circuit étudié. L'intensité du courant électrique possède comme unité l'ampère qui est noté A. Cette unité tient son nom du célèbre physicien français André-Marie Ampère qui travaillera longuement et produira de nombreux travaux en rapport avec l'électricité.
Dans le Système International, l'unité de mesure de l'intensité du courant électrique est l'Ampère.
Le système international d'unités, abrégé en SI, est le système décimal des unités de mesures le plus utilisé au monde. L’ensemble des unités associées aux dimensions fondamentales constitue le système international d’unités. Il s’agit du système MksA (mètre, kilogramme, seconde, Ampère), mais le Kelvin, la mole et le candela font aussi partie de ce système. Ces unités sont appelées unités légales. Elles sont universelles et connues de par le monde entier.
André-Marie Ampère
André-Marie Ampère est un scientifique français ayant vécu entre 1775 et 1836. Il a effectué ses travaux dans de nombreuses disciplines. Que ce soit en physique, en chimie ou en mathématiques, il est à l'origine de nombreux théorèmes. Il a même laissé son nom à une unité, l'Ampère.
On se souvient notamment du Théorème d'Ampère qui permet de calculer la valeur du champ magnétique selon les courants électriques qui le traversent.
Membre de l'Académie des Sciences, il a également été nommé par Napoléon Inspecteur de l'Université française impériale.

Dans un courant continu
Le courant continu, noté CC en Français ou DC en Anglais, correspond a un courant électrique dont l'intensité reste indépendant du temps, on dit donc de celle-ci qu'elle est constante. C'est notamment le type de courant qui est délivré par les piles ou encore les accumulateurs. On peut donc appeler courant continu tout courant périodique dont l'intensité reste toujours relativement proche de sa valeur moyenne ou encore un courant périodique dont la composante continue, c'est-à-dire sa valeur moyenne est d'importance primordiale. Il est également possible de nommer courant continu tout courant électrique qui circule de façon continue ou très majoritairement dans le même sens. On dit alors de ce courant qui est unidirectionnel.
Les taux permettent de calculer la qualité du courant continu. Un courant parfaitement constant aura un taux nul. Soient : I : Valeur efficace de i Ia : valeur efficace de la composante alternative de i < i > : Valeur moyenne de i Δ (i) = imax - imin : Valeur crête à creux de l'intensité On peut alors calculer les taux suivants : Taux d'ondulation :
Taux d'ondulation efficace : 
Dans un courant alternatif
Le courant alternatif correspond à un courant qui est produit toujours de la même façon et ce sont les mêmes mécanismes qui entrent cause. Afin de créer du courant alternatif, on utilise une turbine et un alternateur. C'est également ainsi qu'il est produit dans les centrales électriques. En voici le détail :
- Une turbine est mise en rotation par de l'eau ou de la pression comme de la vapeur d'eau ;
- La turbine entraîne alors l'axe du rotor de l'alternateur sur lequel sont encrés plusieurs électroaimants ;
- Le courant électrique alternatif est produit par les interactions entre les électroaimants du rotor et le fil de cuivre en bobines autour du stator.
On dit d'un courant électrique alternatif qu'il est périodique et sinusoïdal. Périodique car sa tension change de sens de manière périodique en s'inversant constamment et sinusoïdal car la tension varie au cours du temps en décrivant une courbe sinusoïdale.
L'équation représentant l'intensité du courant électrique est du type suivant :
dans laquelle :
- i0 correspond à amplitude du signal exprimée en ampères (A) ;
- φ correspond au déphasage du signal, également appelé phase à l'origine et s'exprime en radians.

Mesure de l’intensité du courant
L’appareil qui permet de mesurer l’intensité d’un courant électrique est l’ampèremètre.
Il se branche en série avec l’appareil traversé par le courant.
Conclusion : l’intensité du courant électrique se mesure avec un ampèremètre. L’ampèremètre se branche en série dans le circuit. L’éclat d’une lampe est d’autant plus important que l’intensité du courant qui la traverse est grande.
L’intensité est partout la même :
I1 = I2 = I3
Conclusion : Dans un circuit série, l’intensité du courant est la même dans tous les dipôles. Elles ne dépendent pas de l’ordre des dipôles. C’est la loi d’unicité de l’intensité du courant. La branche principale est celle qui contient le générateur, l’intensité du courant qui y circule :
I’ = I1 + I2
I =0,15 A. La relation mathématique entre les courants mesurés est :
I’ = I1 + I2

Conclusion : Dans un circuit en dérivation, l’intensité du courant dans la branche principale est égale a la somme des intensités des courants dans les branches dérivés. C’est la loi d’additivité des intensités. L’intensité du courant dans la branche principale augmente. L’intensité du courant dans les branches dérivées ne change pas. La relation mathématique ne change pas : Si l’on ajoute trop d’appareils en dérivation dans le circuit, l’intensité du courant délivrer par le générateur augmente, celui-ci peut être endommager. On le protège en plaçant un fusible en série avec le générateur. Celui-ci fond si l’intensité du courant dans la branche principale devient trop importante. Conclusion générale : Dans un circuit en dérivation, plus on ajoute de récepteur, plus l’intensité du courant dans la branche principale augmente. Les intensités dans la branche dérivée ne changent pas. La loi d’additivité des intensités ne change pas. Un fusible est un coupe- circuit : il fond a partir d’une intensité déterminer.
Exercice d'entraînement : La bobine
1 - Détermination expérimentale de l'inductance L de la bobine
On réalise le circuit électrique représenté ci-dessous (figure 1) comprenant un GBF, une bobine de résistance r et d'inductance L et une résistance R = 1,0´104 W montés en série.

Le GBF délivre une tension alternative triangulaire (tension en dents de scie) de fréquence f = 1,0 kHz .
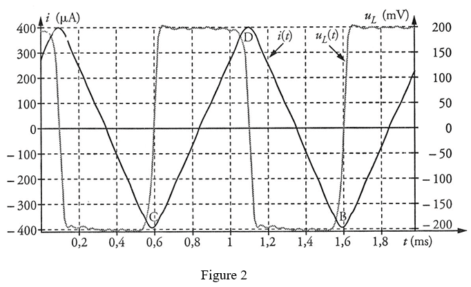
Un système d'acquisition de données relié à un ordinateur permet d'afficher à l'écran les variations en fonction du temps de la tension uL(t) aux bornes de la bobine et de l'intensité i(t) du courant qui circule dans le circuit (figure 2).

1.1. Vérifier à l'aide de la figure 2 que la fréquence du GBF est effectivement réglée sur 1,0 kHz.
1.2. Quelle est l'expression de la tension mesurée sur la voie 2 du système d'acquisition ? En déduire les opérations que devra effectuer le logiciel de traitement des données pour afficher l'intensité à l'écran.
1.3. Exprimer la tension uL aux bornes de la bobine en fonction des caractéristiques de la bobine, de l'intensité i du courant et de sa dérivée di / dt .
1.4.1. Sur la figure 2, la représentation graphique de la fonction i(t) montre qu'en réalité, les crêtes de l'intensité sont arrondies. Dans ces conditions, la tangente au sommet est horizontale.
En déduire une expression simplifiée de uL quand l'intensité dans le circuit est extrémale.
1.4.2.En mesurant uL sur la figure 2 quand l'intensité du courant est extrémale, à t = 1,6 ms par exemple, montrer que r << R.
1.5. On néglige dans la suite le terme faisant intervenir r dans l'expression de uL ainsi que les arrondis des crêtes de l'intensité.
À partir de la demi-période comprise entre les points C et D de la figure 2, mesurer uL , calculer di / dt et en déduire la valeur de L.
1.6. Le constructeur indique r = 12 W.
Calculer alors uL à la même date qu'à la question 1.4.2. et montrer que la valeur obtenue est en accord avec la mesure effectuée à la question 1.4.2.
2 - Constante de temps d'un circuit RL
La bobine est maintenant montée en série avec une résistance R' = 100 W aux bornes d'un générateur idéal de tension de f.e.m. E = 6,5 V (figure 3).
Le système d'acquisition permet de suivre l'évolution de l'intensité du courant dans le circuit en fonction du temps. La fermeture de l'interrupteur à l'instant t = 0 déclenche l'acquisition. L'enregistrement obtenu est représenté sur la figure 4.


2.1. Établir l'expression donnant l'intensité du courant en régime permanent en fonction des caractéristiques du circuit.
2.2. Vérifier que la valeur de l'intensité du courant en régime permanent obtenue sur le graphe de la
figure 4 est en accord avec les données de l'énoncé.
2.3.1. Rappeler l'expression de la constante de temps d'un dipôle RL.
2.3.2. Déterminer graphiquement sa valeur en faisant figurer la méthode utilisée sur la figure 5 en annexe à rendre avec la copie.
2.4. La résistance R' est en réalité une résistance réglable. On lui donne maintenant la valeur 150 W.
2.4.1. Calculer la nouvelle intensité du courant en régime permanent.
2.4.2. Calculer la constante de temps du nouveau dipôle RL.
2.4.3. Représenter avec soin la courbe représentant l'évolution de l'intensité du courant en fonction du temps i = f(t) sur la figure 5 en annexe, à rendre avec la copie.

Résumer avec l'IA :



















Si vous désirez une aide personnalisée, contactez dès maintenant l’un de nos professeurs !
Physique physique
I’m.. I’m Steve
Physique chimie
Bonjour
Je voudrais le solution pour la deuxième exercice s’il vous plaît
2 – Constante de temps d’un circuit RL
Merci beaucoup
Bonjour, avez-vous essayé de contacter l’un de nos professeurs pour recevoir une aide personnalisée ? Excellente journée ! :)
Je voulais d’aide pour traiter mon devoir de maison
Bonjour, envisagez de vous appuyer sur nos professeurs chez Superprof pour un accompagnement qui répond spécifiquement à vos besoins. Passez une agréable journée ! :)
Bonjour, avez-vous essayé de contacter l’un de nos professeurs pour recevoir une aide personnalisée ? Excellente journée ! :)
Bonjour ,j’ai besoin de l’expression de l’intensité électrique selon le modèle de bohr